Дата
Автор
Виктор Резунков
Сохранённая копия
Original Material

Сумчатая крыса и деревянный бюстгальтер

Гамбийская сумчатая крыса ищет мину

Военные и мирные изобретения казака Александра Семенова

17 сентября в Гарвардском университете прошла церемония вручения Шнобелевской премии за 2015 год –​ шутливого аналога Нобелевской премии. Список победителей приведен на официальном сайте премии. Петербургский изобретатель Александр Семенов – неоднократный номинант этой премии. Последние проекты, зарегистрированные Роспатентом, с которыми он участвовал в этом конкурсе – секс-куклы, наполненные взрывчаткой, мини-машина для сумчатой крысы, ищущей мины, механизм отстрела экскрементов членов экипажа танка… Есть и другие, не менее экзотические проекты.

Ничего легкомысленного. Никакого дилетантского стеба. Все научно обосновано, и на каждое изобретение получен патент Федеральной службы по интеллектуальной собственности, патентам и товарным знакам. Александр Семенов – инженер-механик, юрист, психолог, кандидат технических наук, почетный изобретатель Европы, академик четырех академий наук, доцент кафедры "Двигатели, автомобили и гусеничные машины" Санкт-Петербургского политехнического университета Петра Великого, атаман Санкт-Петербургского регионального отделения Союза казаков России, автор 1000 публикаций, 260 изобретений.

Александр Семенов
Все научно обосновано, и на каждое изобретение получен патент Федеральной службы по интеллектуальной собственности

​–​ Александр Георгиевич, Шнобелевская премия вручается за достижения, которые вначале заставляют смеяться, а потом –​ задуматься. Ваш запатентованный способ парашютного десантирования с использованием наполненных взрывчатой жидкостью секс-кукол назвать смешным язык не поворачивается. Я бы назвал вас концептуалистом, работающим в стиле милитари-арт. А эта концепция с секс-куклами – произведение строго в рамках заявки на Шнобелевскую премию или нечто большее?

– Это изобретение "заточено", конечно, прежде всего, под это мероприятие, хотя ценность таких разработок, которые выставляются и номинируются в этом конкурсе, заключается в том, что у них, как у монеты или медали, есть две стороны. С одной стороны, это обязательно должна быть серьезная разработка с желаемым внедрением. С другой стороны, это должна быть крайняя форма юмора, что и делает это изобретение наиболее подходящим объектом для номинации. Моя разработка запатентована как "Способ авиадесантирования", а там – и способ, и устройство… Это, по сути, два изобретения под одной "крышей" (а "крышей" я называю патентную грамоту, защищенную нормальным путем). Предлагается при авиадесантировании применять муляжи (так же как у нас применяются надувные танки, надувные ракетные установки). Это обычная маскировка, ложные позиции. Такие вещи давно используются, но это – частный случай этой темы.

Я предлагаю главным образом применять сбрасывание секс-кукол при небольших десантах

Я предлагаю главным образом применять сбрасывание секс-кукол при небольших десантах. Вообще, в десантных делах целесообразность крупных операций находится под сомнением. В будущем они будут осуществляться малыми силами – ротой, батальоном. Это либо разведывательные, либо диверсионные, либо разведывательно-диверсионные операции. Как правило, такие десанты выбрасываются в 2-3 километрах от противника, поэтому здесь как раз расчет на то, что их заметят. Но даже если не заметят сам сброс секс-кукол, то все равно информация может поступить из других источников. Все равно начнется преследование, и будет поставлена задача: найти и обезвредить этот "десант". И, когда противник бросит силы на якобы крупный десант, он не будет знать действительное соотношение – сколько там действующих десантников, а сколько муляжей… По мере продвижения и отлавливания десанта (а это обычное дело, по статистике половина десанта уничтожалась или бралась в плен, особенно при большом их рассеивании) противник увидит висящую надувную секс-куклу, дальше – еще одну, и противник начнет подозревать, что весь десант фальшивый, тогда он вернет назад поисковую группу, а живые десантники пойдут дальше – взрывать мосты.

Способ парашютного десантирования, Патент РФ № 2524875
Меня упрекнули, что нельзя наполнять секс-кукол напалмом. Да, людей нехорошо сжигать напалмом, а танки – почему нет?

А вторая сторона применения секс-кукол – чисто боевая. В основу ее положена психология. Когда сбрасывают бомбы, поведение того, на кого их сбрасывают, понятно. Противник рассредотачивается, прячется в складках местности, чтобы потери были минимальными. А если сбрасывают десант, якобы людей в небольшом количестве, на большую колонну машин противника, например, то кто же будет рассредотачиваться? Наоборот, будут сбегать к нему, пытаться поймать, взять в плен. А, если увидят, что явно летит секс-кукла, которая всегда – дефицит, то она привлечет внимание солдат противника даже не из-за чисто физиологических побуждений воспользоваться ею, а в основном для куража. Кураж заключается в том, чтобы поймать ее, сделать вид, что ее насилуешь и т. д. А она начинена соответствующими поражающими веществами.

Меня упрекнули, что нельзя наполнять секс-кукол напалмом. Да, людей нехорошо сжигать напалмом, а танки – почему нет? Почему "коктейль Молотова" можно, а напалм нельзя? Это почти одно и то же.

–​ Большинство ваших изобретений носит военный характер. Вы думаете, что скоро начнется война?

Я употребляю слово "милитаризм" в хорошем смысле – в оборонном, а не в наступательном. Я не хочу никакой войны

– Нет. Как у каждого человека, у меня есть своя профессиональная линия – и по образованию, и по специальности. Но отнюдь не все 260 моих изобретений носят милитаристский характер. Я сейчас выпустил книгу под названием "17 милитаристских предложений заказчику". И я употребляю слово "милитаризм" в хорошем смысле – в оборонном, а не в наступательном. Я не хочу никакой войны. И если я придумываю какие-то варианты, пусть и одиозные, противостояния тем же ПРО в глобальном масштабе, если мы говорим о геополитическом противостоянии, то это разновидность борьбы за мир, так же как атомное оружие, которое является средством сохранения мира.

–​ Еще одно ваше изобретение, которое вызвало большой резонанс, называется "Способ удаления отходов жизнедеятельности из изолированного обитаемого отделения военного объекта и устройство для его осуществления". Этот способ подразумевает создание в танке специального метательного орудия, стреляющего емкостью с отходами жизнедеятельности личного состава (то есть с экскрементами). Это изобретение, извините, говномета. Где грань между открытием, изобретением и шуткой?

Для того чтобы критиковать какое-то изобретение, надо хоть немножко понимать в той области, к которой оно относится

– Такие вещи, как мое изобретение, порождают в обществе поляризацию, разделяют людей на две группы. Одна из них, небольшая, представлена людьми вдумчивыми. Прежде чем орать или, как некоторые блогеры, употреблять ненормативную лексику, надо подумать. Вообще, для того чтобы критиковать, оценивать какое-то изобретение, надо хоть немножко понимать в той области, к которой оно относится. Конечно, все не могут быть специалистами, но надо, во всяком случае, быть осторожным, понимать, что ты – дилетант. Впрочем, это тоже отдельный вопрос, так как часто изобретения делают дилетанты.

Способ удаления отходов жизнедеятельности из изолированного обитаемого отделения объекта. Патент РФ № 2399858

С одной стороны, я решал серьезнейшую проблему жизнеобеспечения экипажа боевой машины, танка, прежде всего. Представьте себе внутреннее пространство его кабины, в которой, как в "хрущевке", туалет. В него вошли в ватниках три человека, заперлись, зацементировали горшок. По инструкции танкисты должны продержаться трое суток, если снаружи идет радиация, бактериологическое заражение и т. д. Или машина подбита, а вылезти из нее нельзя, подстрелят. И в таком запертом состоянии члены экипажа должны продержаться. Куда и как девать отходы жизнедеятельности? Это ведь вопрос не только морально-нравственный, но и чисто практический. Их надо удалять.

Я решал серьезнейшую проблему жизнеобеспечения экипажа боевой машины

Эти задачи без всякого смеха решаются в космической отрасли. Это серьезная задача. Не надо называть меня профессиональным юмористом, который этим занимается для участия в Шнобелевском конкурсе. Нет. Я решаю профессиональные вопросы. И все это, кстати сказать, не ново. И секс-куклы, и этот говномет человечество в том или ином виде уже применяло. В средневековье осады длились годами, и, чтобы чумой заразить города, швыряли туда отходы свои наряду с горящей смолой. Можно сказать, что это – хорошо забытое старое, но, с другой стороны, признание Роспатентом и выдача патента этой уважаемой организацией (а там целый год проверяют на предмет мировой новизны, и не только изобретательского уровня) подтверждает, что разработка хорошая.

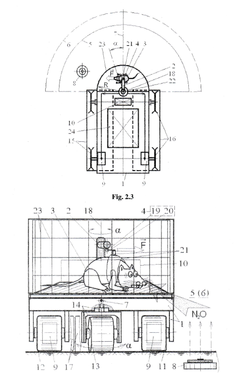
–​ Александр Георгиевич, еще одно ваше изобретение связано с использованием гамбийских сумчатых крыс для разминирования наземных минных полей. Этих крыс уже используют для разминирования, но вы пошли дальше: вы создали и запатентовали зоомашину, самоходный минный разградитель, которым крыса управляет. Расскажите, пожалуйста, о сути вашего изобретения.

– Гамбийские сумчатые крысы используются для разминирования минных полей уже давно. Кажется, в Англии есть такая школа, где эти крысы проходят обучение. Почему гамбийские? Это наиболее крупные крысы. Их используют в Африке, где минных полей уже столько, что практически уничтожено сельское хозяйство. Однако даже веса гигантской гамбийской сумчатой крысы не хватает для того, чтобы подорвать мину. На заре своей деятельности я несколько лет занимался малоразмерными экипажными транспортными средствами, машинами. Разработок по ним было много. Это тоже стало базисом для этой разработки. Если есть такое понятие, как человеко-машинная система, значит, может существовать более обширная система – зоомашинная система. Ведь человек – и животное тоже. И это было в истории. Я не первый, кто стал "топтать" эту область. Японцы применяли камикадзе, а американцы – голубей.

Гамбийские сумчатые крысы используются для разминирования минных полей уже давно

Когда я взглянул на проблему разминирования гамбийскими крысами, я увидел, что проблема частично разрешена. Крыс применяли не только потому, что они были обучены по закиси азота определять на большой глубине, вплоть до одного метра, закопанную мину, а для того, чтобы заменить человека. Стоимость подготовки одной такой крысы была – 7777 евро. Крыса обнаруживает мину, человек ставит на ее место флажок, а потом возвращается разминировать эту мину своими руками, то есть опять подвергается угрозе взорваться. Я решил моторизировать крысу, посадить ее на транспортное средство. И пусть на тренировку такой крысы будет тратиться больше средств, зато мы сохраним жизнь человеку – она ведь бесценна. И здесь получается частный случай зоомашинной системы – крысомашинная система, а это уже веселее. С одной стороны, мы решаем задачу, а с другой, становится весело и достойно Шнобелевской премии. Одно другому не мешает. Каждый человек имеет свое хобби, имеет право заниматься тем, чем он занимается. У меня вот такое хобби.

Способ разминирования минных полей и устройство для его осуществления, Патенты РФ №№ 2511755, 2399858

–​ Одно из ваших последних изобретений –​ это физиотерапевтический бюстгальтер расширенного функционального назначения, сделанный из дерева, а также папаха с деревянным каркасом, кобура в виде плеера для скрытого ношения стрелкового оружия… Список можно продолжить. Вы послали заявку на Шнобелевскую премию в этом году?

Физиотерапевтический бюстгальтер расширенного функционального назначения, Патент РФ № 2497822

– Что у нас будет дальше в отношении Шнобеля, пока неясно. Марк Абрахамс с компанией, хозяин-барин, посмотрит. Это их епархия. Мое дело – представить. Я представил. Вообще, я заметил некое охлаждение с их стороны, которое наблюдается сейчас из-за известных событий по всему фронту. Я чувствую это охлаждение. Поэтому в этом, 2015 году я на Шнобелевскую премию особенно не рассчитываю. Но у меня перспективная программа. Я не сдаюсь. Марк Абрахамс мне так и сказал: "Не сдавайся!"