На все случаи девяти жизней
Девять патентов на специальные кошачьи устройства

В Америке зарегистрировано больше миллиона специальных «кошачьих» патентов — кошачьи туалеты, миски для еды, ошейники и игрушки. Большинство патентов похожи друг на друга и никогда не воплощаются в жизнь. По просьбе «Медузы» Владислав Воронин нашел среди миллиона зарегистрированных патентов девять самых интересных.
Механическая рука
гладит кота, пока хозяина нет дома
Полная чашка воды и миска с кормом не удовлетворяют все потребности кошки, особенно если хозяин на пару дней уехал на дачу. Нехватку человеческого внимания может компенсировать устройство с четырьмя искусственными пальцами, которые имитируют привычное поглаживание. Механизм прикрепляется к стене, работает от батареек и запускается по сигналу инфракрасного детектора, который определяет, что животное подошло максимально близко. Пальцы покрыты латексом, чтобы движения не казались коту слишком грубыми.
Заявка на патент — 2006 год.

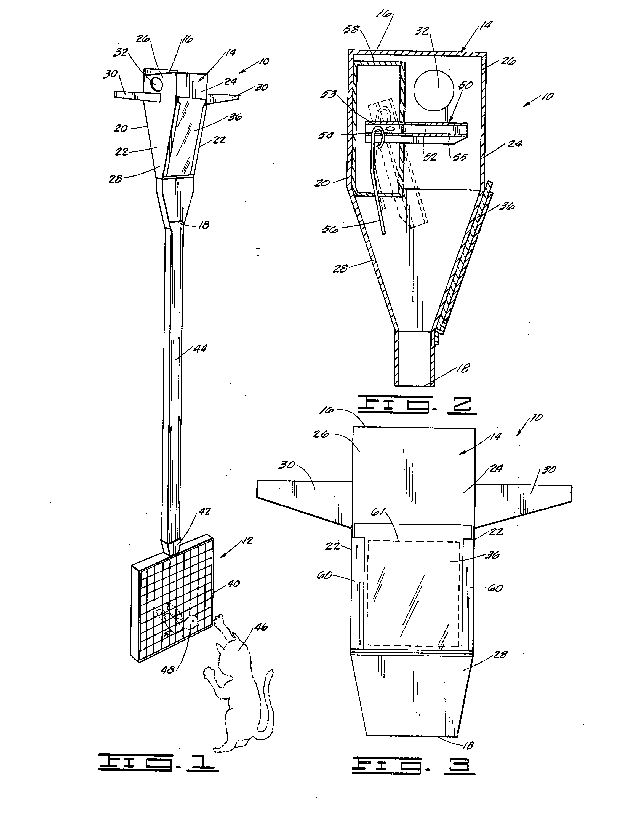
Ловушка для птиц
с кормушкой для кошек
Это изобретение идеально подходит для ленивых кошек. Чтобы поохотиться, не нужно высматривать жертву и таиться — достаточно сесть около клетки и просто ждать, когда добыча сама упадет с неба. Птицы залетают в, казалось бы, обычный скворечник, но через несколько секунд жердочка, которую они принимают за ветку дерева, сбрасывает их в клетку (это касается воробьев и более тяжелых птиц, совсем маленькие и легкие могут улететь).
Выбраться из клетки у птицы точно не получится, с этого момента она обречена: расстояние между железными прутьями очень маленькое, можно высунуть только голову. Зато кот способен быстро вытащить птицу мощными движениями лап. Что должно произойти дальше — легко представить.
Заявка на патент — 1977 год.

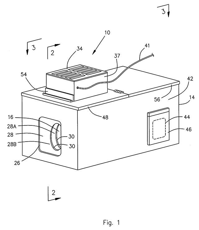
Кормушка
спасает квартиру от кошачей шерсти
Никто не любит кошачью шерсть. Чтобы поберечь нервы при уборке и продлить жизнь пылесоса, американец Джек Кидуэлл придумал особую систему кормления котов. Миска с едой должна быть спрятана посередине домика, который работает как вытяжной вентилятор, собирающий всю лишнюю шерсть и грязь с тела животного.
Коту придется проходить через вентиляторы и воздушные фильтры каждый раз, когда он захочет поесть, и это значительно скажется на чистоте квартиры. Фильтры внутри домика работают не всегда, благодаря специальным датчикам они запускаются только при появлении кошки.
Заявка на патент — 2004 год.

Кошачья мать
электрическая замена маме-кошке
Для котят, которые тяжело переживают разрыв с матерью и не пьют молоко с помощью обычных сосок, разработана система, симулирующая основные родительские функции. Тело искусственной кошки подключается к розетке и держит ту же температуру, что и у настоящей, молоко отдельно подогревается, соски сделаны максимально реалистично. Разработчиками предусмотрено даже сердцебиение, которое имитируют специальные стереодинамики. Котенок будет спокоен.
Заявка на патент — 2002 год.

Блок-система
не пускает в запретные зоны квартиры
Устали прогонять кошку с обеденного стола? Теперь можете установить систему радиочастотной идентификации объектов (RFID) и забыть о такой проблеме. Достаточно установить датчик в нужном месте, определить границу запретной зоны и надеть на животное маленький девайс, передающий радиосигналы. Как только кот окажется на границе запретной зоны, он услышит неприятный ультразвуковой сигнал и вынужден будет уйти. Со временем у животного выработается привычка не ходить в это место: противный ультразвук станет для кошки его главной характеристикой.
Заявка на патент — 2012 год.

для развлечения и тренировки
Ваш кот лихорадочно носится по квартире, снося все на своем пути? Это от скуки и недостатка активности, уверен изобретатель Кит Аллен. Он запатентовал лазерный тренировочный комплекс, который использует любопытство домашних животных и дает им необходимую физическую нагрузку.
Система работает очень просто: лазерная указка, прикрепленная к высокой подставке, крутится вокруг своей оси и быстро привлекает внимание кота, который начинает гоняться за красным пучком. Хозяину нужно только запустить небольшой мотор на подставке и вовремя его выключить, пока кот не выдохся.
Есть альтернативный вариант — прикрепить указку к вентилятору.
Заявка на патент — 2002 год.

обездвиживает кошку во время лечения
Оказывается, лечение кота может обходиться без кошмарных укусов и царапин в ответ на таблетки, уколы и опрыскивания. Чтобы избежать повреждений, достаточно нацепить на животное смирительную рубашку, которая зафиксирует его в сидячем положении и позволит проводить любые процедуры. Около шеи и хвоста есть пуговицы, при расстегивании которых можно сделать необходимые уколы.
Заявка на патент — 1999 год.

Маленькая ванна
вертикальный сосуд для мытья
Практически невозможно представить себе спокойного кота в ванной, но изобретатель Брэд Дэвис утверждает, что возможно даже такое. Требуются только три условия: ванна должна быть сделана из прозрачного материала, быть достаточно узкой и невысокой — так, чтобы кошка могла стоять на задних лапах, а передними опираться на верхнюю часть ванны. Вода при этом распыляется вокруг животного, а не льется сильным потоком из душа.
Заявка на патент — 1990 год.

от маленькой входной двери
В США многие делают в дверях маленькие проходы для кошек, чтобы те могли свободно выходить на улицу и возвращаться домой, не беспокоя хозяев. Правда, как утверждает группа изобретателей, часто это оборачивается визитами посторонних и бродячих животных. Чтобы избежать неприятностей, можно установить магнитную дверцу, которая будет открываться только для того кота, у которого на шее висит специальный магнит.
Заявка на патент — 1976 год.

Владислав Воронин
Москва