Apple решила запатентовать бумажный пакет
Корпорация Apple подала в ведомство по патентам и товарным знакам США заявку на патент, описывающий бумажный пакет. Заявку, отправленную еще в марте, ведомство опубликовало в середине сентября.
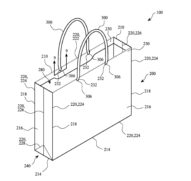
Патент подан на «бумажный контейнер из белой бумаги, которая как минимум на 60 процентов состоит из переработанных материалов», а также на разные уточненные модели, представляющие собой все тот же бумажный пакет.

The Next Web отмечает, что над пакетом работали дизайнеры, которые придумали зарядки, присоединяющиеся к устройствам Apple с помощью магнита, и компоненты обуви Nike. Издание считает, что Apple пытается запатентовать не обычный бумажный пакет, а собственную, улучшенную версию.
Так, в одном из пунктов заявки указано, что в пакет могут вставляться усиливающие вставки, которые позволят компенсировать сниженную прочность переработанной бумаги. В другом корпорация пишет, что ручки, используемые в существующих пакетах, слишком жесткие. Изобретатели предлагают решить эту проблему с помощью ручек, сделанных из бумажных волокон, — они должны ощущаться мягкими, как тканевые шнурки.
Получит ли Apple патент на пакет, пока неизвестно. Но компания еще в апреле заменила в своих магазинах пластиковые пакеты на бумажные.