Дата
Автор
Скрыт
Источник
Сохранённая копия
Original Material

Что не так с «Крокус Сити Холлом»: перегруженная крыша, дымящая отделка, проблемы с пожарными роботами

Уже на третий день после теракта в «Крокус Сити Холле» стало понятно , что от огня в концертном зале погибли по крайней мере не меньше (а, скорее всего, больше), чем от пуль – не менее 45 жертв из-за пожара против 40 от огнестрельных ран. Владеющая залом семья Агаларовых настаивает на том, что уровень пожарной безопасности был на высшем уровне, однако публикации строителей концертной площадки позволяют усомниться в этом.

Семья Агаларовых в воскресенье подробно отчиталась о том, как вели себя во время пожара установленные в концертном зале противопожарные системы: «Все системы безопасности работали… все гидранты имели давление… спринклерная система пожаротушения также работала, здание обрушилось только через 6 часов после начала страшнейшего пожара, до сих пор некоторые помещения остались целыми и не сгорели… хотя обычно при таких пожарах сгорает все дотла». Однако анализ «Агентства» показывает, что реальная ситуация могла серьезно отличаться.

Публикации подрядчиков, возводивших концертную площадку, могут свидетельствовать о том, что у здания могли быть предельно нагружены конструкции крыши (и это могло привести к преждевременному ее обрушению), при отделке стен зала использовались горючие материалы, а установленные в зале пожарные роботы не могли эффективно бороться с возгоранием. Подтвердить или опровергнуть эти сообщения могла бы исполнительная документация «Крокус Сити Холла», однако ее в открытом доступе нет.

Предельная нагрузка на крышу


Подвесная акустическая система в «Крокус Сити Холле». Фото: портал Showroom

При строительстве «Крокус Сити Холла» инженеры придумали необычное решение проблемы идеального звука. Они подвесили под потолком концертного зала сабвуферные и линейные динамики общим весом в 12 тонн. Обычно низкочастотные динамики размещаются на сцене или за ней, объяснял в 2009 году Валерий Бабин, ведущий инженер компании «Техника и технологии театра», занимавшейся монтажом акустических систем в «Крокусе». Это породило проблему: металлокаркас здания не был рассчитан на такие нагрузки. «Догружать предстояло и без того изрядно нагруженные стропильные фермы. Но отступать было некуда», – рассказывал главный конструктор компании «Техника и технология театра» Борис Зайчик в том же 2009 году.

Проектировщикам здания из ЦНИИСК им. Кучеренко – одного из ведущих проектных учреждений в России, занимающихся металлокаркасами – пришлось рассчитать дополнительную нагрузку. Размещение динамиков на подвесах согласовали, но с условием «как можно более равномерно распределить эту дополнительную нагрузку между стропильными фермами». При этом разработчикам пришлось искать компромисс между весовыми и прочностными показателями элементов подвеса, признавали инженеры компании.

  • К чему это могло привести во время пожара. В день теракта крыша концертного зала начала разрушаться уже через сорок минут после начала пожара. Сброс большого количества воды с вертолета на предельно нагруженную кровлю мог способствовать ее разрушению. Всего же на здание в день теракта было сброшено более 160 тонн воды.

«Слепая зона» для роботов

Отчитываясь через два дня после теракта о работе противопожарных систем владелец «Крокус Сити Холла» Араз Агаларов упомянул о сработавшей спринклерной системе и роботах-рукавах. Об установленных в «Крокус сити холле» четырех роботизированных стволах с системой программного управления говорил и глава МЧС России Александр Куренков. По его словам, автоматическая система пожарной сигнализации в концертном зале сработала в штатном режиме.

Судя по информации Инженерного центра пожарной робототехники «ЭФЭР», в зале «Крокуса» могли находиться четыре пожарных робота, оснащенных инфрокрасными датчиками. Они самостоятельно обнаруживают очаг возгорания и точечно направляют в него струю воды под давлением.

Выглядит такой робот примерно так:

Пример внешнего вида пожарного робота из статьи «Внедрение инновационных технологий в систему противопожарной защиты критически важных и сложных объектов», авторы Тупицын А.Н., Демехин Ф.В., Членов А.Н.

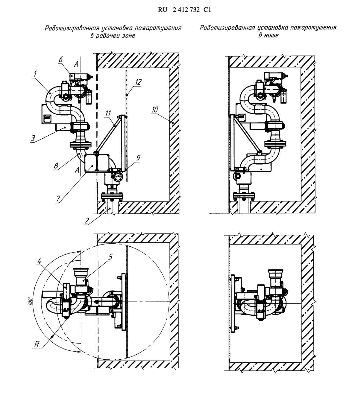
Но ничего похожего на фото, видео и 3d-панорамах зала, снятых перед терактом, «Агентству» обнаружить не удалось. Оказалось, что для «Крокус Сити Холла» разработчики пожарных роботов придумали и запатентовали инновационное решение – робот, прячущийся в нише стены и выезжающий из нее при срабатывании пожарной сигнализации. На это изобретение главный инженер «ЭФЭР» Юрий Горбань получил патент с номером RU 2412732. Этот патент упоминается на сайте компании, при этом уточняется, что изобретение используется в концертном зале «Крокус».

Чертеж из патента на изобретение «Роботизированная установка пожаротушение (в нише, киноконцертный зал Крокус)»

В боковой стене сгоревшего зала действительно видны большие ниши, в которых могло располагаться подобное оборудование.

Сработала ли сигнализация сразу после возгорания и выехали ли роботы из ниш штатно, неизвестно. Находившиеся на балконе Наталья Щеглова и Александр Гурушкин рассказали «Агентству», что не могут вспомнить, чтобы в зале работала система речевого оповещения, сообщения с просьбой покинуть зал они услышали уже в коридорах.

Непонятно также, насколько удачно могло быть выбрано место для размещения роботов в концертном зале. Их расположение могло серьезно повлиять на эффективность тушения пожара. Схемы размещения пожарных роботов в «Крокус Сити Холле», приведенные в 2015 году в статье в журнале «Системы безопасности» Горбанем и сотрудником НИИ противопожарной обороны МЧС России Еленой Синельниковой, противоречивы. На одном чертеже роботы расположены на стене выше партера. На второй схеме – в партере, под отделяющей партер от лестницы стеной.

По видео , снятому в зале в момент теракта, видно, что один из очагов возгорания располагался в задних рядах партера (см. схему ниже).

Ближайшие к этой точке пожарные роботы (если они были установлены в нише на стене) могли не обнаружить очага возгорания. Им помешала бы лестница и установленный на ней стеклянный парапет (см. рисунок ниже). «Дострелить» до этого места могли роботы с противоположной стороны, но расстояние в 50 метров (а именно столько отделяло место пожара от второй вероятной точки расположения пожарных роботов) было на пределе их паспортных возможностей. Об этом свидетельствует каталог компании «ЭФЭР», найденный «Агентством».

Скриншот из каталога продукции «Инженерного центра пожарной робототехники “ЭФЭР»», где показан принцип размещения роботов в зале «Крокус Сити Холла». Схема размещения в зале, судя по конфигурации рядов, приведена на примере «Вегас Сити Холла».

Работу таких роботов не заметить невозможно . Но ни один из свидетелей пожара не говорил журналистам о работающих в зале пожарных гидрантах. Возможно, это случилось из-за того, что роботы при срабатывании сигнализации включаются не сразу, а через некоторое время, необходимое для эвакуации людей из зала, чтобы вода под давлением не причинила вред посетителям. Другой вариант – что они все-таки не работали.

Токсичные материалы

«Крокус сити холл» стал первым объектом для немца Йозефа Готтфрида Рэма после того, как он в 2008 году решил заняться не только поставками акустических панелей, но и их монтажом. Для потолка концертного зала компания Рэма «Там строй» использовала панели Mikropore G немецкого производителя Lahnau Akustik. Они созданы из негорючего пористого материала из стеклогранулята (его несгоревшие осколки можно увидеть на множестве фото и видео о разборах завалов). А на стенах были установлены шпонированные панели Mikro Eurospan, указано в Instagram другой компании Рема НААТ.

В архивной версии каталога материалов компаний Рэма есть описание этой панели: изготовлена из ДСП с противопожарной пропиткой. Материал назван «трудногорючим» и указан его класс пожарной безопасности – Г1, В2, Д3, Т3 (на другом сайте вместо Г1 указан Г2). Это означает, что панели трудно воспламеняются, но если горят, то выделяют значительное количество дыма и токсичных веществ. Панели с такими показателями нельзя использовать для обустройства акустических панелей на стенах концертных залов, свидетельствует свод правил для строительства таких зданий, принятый в 2017 году. И хотя «Крокус Сити Холл» был построен почти на 10 лет до этого, в 2022 году в зале прошла реконструкция. Но, судя по фотографиям из пресс-релиза «Там строй», панели на стенах не менялись

На фото с разбора завалов видно , что панели на стенах (в отличие от минеральной ваты кровли и акустического материала потолка), выгорели полностью. На видео , снятом у входа в зал, видно, что панели и здесь значительно повреждены огнем.

Скриншот видео, опубликованного в телеграм-канале губернатора Московской области Андрея Воробьева

«Агентство» дозвонилось до владельца компании «Там строй» Йозефа Готтфрида Рэма, однако он бросил трубку, как только журналист назвал тему беседы. В центре «ЭФЭР» отказались говорить с «Агентством» о работе пожарных роботов в «Крокус Сити Холле». В среду, 27 марта, мы направили письменные запросы в пресс-службы группы и «Крокус Сити Холла». На момент публикации ответов не поступило.

Автор: Екатерина Резникова

Узнать больше . Это не все вопросы к пожарной безопасности в «Крокус сити холлу». Зрители в первые же часы после теракта начали сообщать о том, что эвакуационные лестницы в здании в «Крокусе» были закрыты. Сын владельца концертного зала Эмин Агаларов в четверг заявил , что во время теракта были закрыты лишь служебные двери. Но анализ «Агентства», основанный на рассказах зрителей и исследовании доступных данных о зале, свидетельствует, что это не так. Входы или выходы были

закрыты

как минимум на трех из четырех эвакуационных лестницах.

Больше новостей, о которых боятся писать в России, — в наших аккаунтах в Telegram , Twitter , Facebook